こんにちは、防食防水処理専門会社の株式会社新倉技研/横須賀市です。本日は株式会社新倉技研が所有する特許の紹介です。複数特許を取得しているため、順次紹介していきます。
【発明の名称】
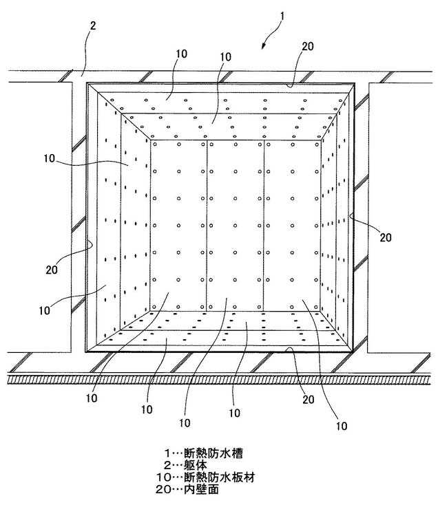
断熱防水槽
【発明者】
新倉 均(株式会社新倉技研代表取締役/中央技能検定委員及び防水技能士国家検定委員)
【要約】
課題/施工現場での工期を短縮することができ、コストも低減することができるようにした断熱防水槽を提供する。
解決手段/断熱防水槽1は、建築物の躯体2が画成する空間を断熱性および防水性を有する蓄熱槽とするものであり、空間を画成する躯体2の内壁面20を覆う複数枚の断熱防水板10を備えている。この複数枚の断熱防水板10は、予め発泡体からなる断熱板材11の両面に防水性部材12を覆うように取り付けて形成したものであり、内壁面20と蓄熱槽内とを隔離するように内壁面20に固定する。
これからも株式会社新倉技研は高い専門性で防水・防食工事全般を請け負っております。今後ともよろしくお願い申し上げます。
詳細:J-PlatPat
https://www.j-platpat.inpit.go.jp/c1801/PU/JP-2011-106172/11/ja




