お問い合わせ(フリーダイヤルは神奈川圏内のみ)

フリーダイヤル0120-910-802

☎TEL.046-855-5750

「自社施工」 職人と呼ばれる仕事をする

株式会社新倉技研
排水管の水漏れ防止カバー工法「GN FRPパイプシステム」
新倉技研の商品 · 2025/12/08
排水管の水漏れ防止カバー工法「GN FRPパイプシステム」

自然の恵みを無駄なく利用する雨水貯水タンク「エコ貯め君」
新倉技研の商品 · 2025/11/24
自然の恵みを無駄なく利用する雨水貯水タンク「エコ貯め君」

新倉技研の商標の紹介/エコ貯め君
新倉技研の商標 · 2025/11/09
新倉技研の商標の紹介/エコ貯め君

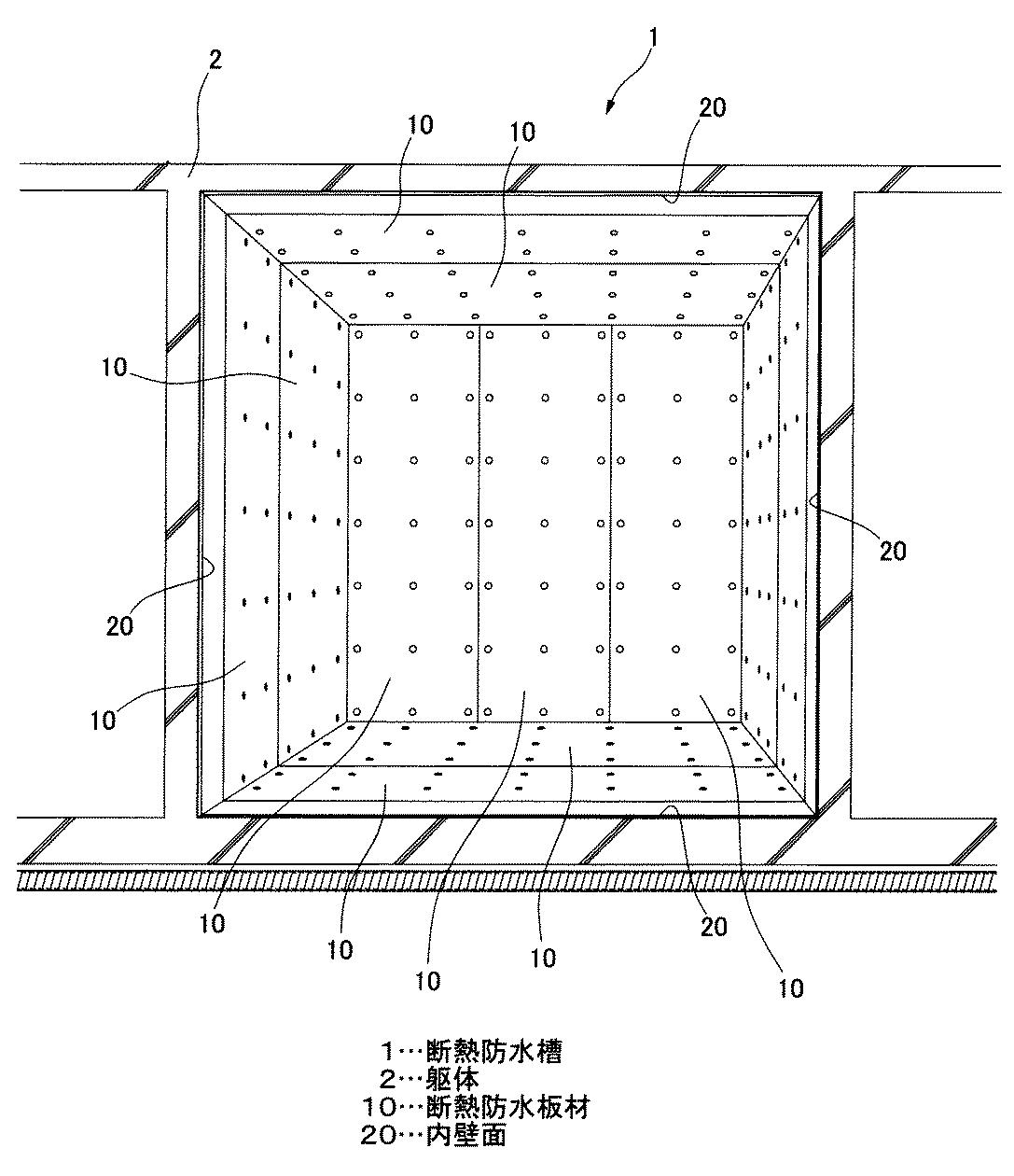
新倉技研の特許の紹介/断熱防水槽
新倉技研の特許 · 2025/10/26
新倉技研の特許の紹介/断熱防水槽

新倉技研の特許の紹介/流水管補修工法
新倉技研の特許 · 2025/10/13
新倉技研の特許の紹介/流水管補修工法

新倉技研の特許の紹介
新倉技研の特許 · 2025/09/30
新倉技研の特許の紹介

ご依頼・お問い合わせ